Installation guidelines
Installation guidelines
Please select one or more chapters to download.
Table of contents

Overview of accessory profiles

Starter profile for extruded profile

Drip

Pocket trim variant A

End profile glued (two parts)

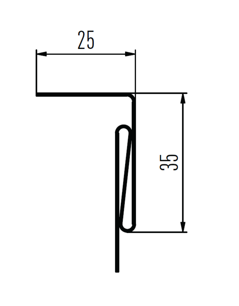
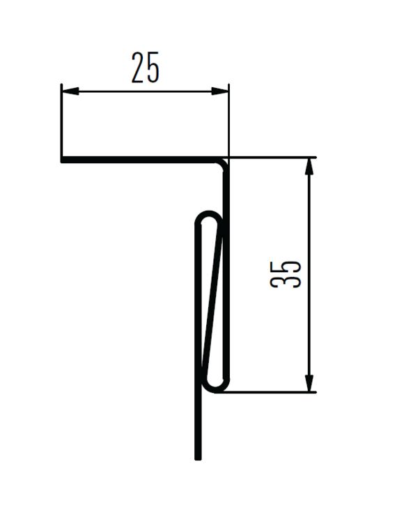
T-profile for extruded profiles

Jamb flashing for extruded profiles

External corner for extruded profiles (one-piece)